支路电流法 电工基础

支路电流法

支路电流法是以支路电流作为电路的变量,直接应用基尔霍夫电压、电流定律,列出与支路电流数目相等的独立节点电流方程和回路电压方程,然后联立解出各支路电流的一种方法。      以下图为例说明其方法和步骤:...
阅读全文
串联反馈与并联反馈的判断 电工基础

串联反馈与并联反馈的判断

串联反馈与并联反馈的区别:在于基本放大电路的输入回路与反馈网络的连接方式不同。 判断方法一: 若反馈信号为电压量,与输入电压求差而获得净输入电压,则为串联反馈;若反馈信号电流量,与输入电流求差获得净输...
阅读全文
电压负反馈与电流负反馈的判断 电工基础

电压负反馈与电流负反馈的判断

在电压负反馈电路中,反馈量取自输出电压,并与之成比例;在电流负反馈电路中,反馈量取自输出电流,并与之成比例。 判断方法:令负反馈放大电路的输出电压uO为零,若反馈量也随之为零,则说明引入了电压负反馈;...
阅读全文
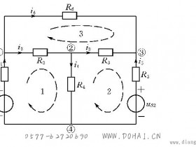
网孔电流法 电工基础

网孔电流法

网孔电流法是以网孔电流作为电路的变量,利用基尔霍夫电压定律列写网孔电压方程,进行网孔电流的求解。然后再根据电路的要求,进一步求出待求量。 网孔电流是一个假想沿着各自网孔内循环流动的电流,见图中的表示。...
阅读全文
安培定则 电工基础

安培定则

一、安培定则 电流周围存在磁场,磁场方向与电流的方向有关,通电螺线管外部的磁场方向也与其电流方向有关,其关系可以由右手螺旋定则来判断。表示电流和电流激发磁场的磁感线方向间关系的定则,叫右手螺旋定则,此...
阅读全文
楞次定律 电工基础

楞次定律

楞次定律有两种常用的表述形式,第一种是“感应电流的磁场总是要阻碍引起感应电流的磁通量的变化”,它反映了感应电流的方向应遵循的规律;第二种是“感应电流产生的效果总是要阻碍引起感应电流的原因”,它反映了感...
阅读全文
基尔霍夫电流定律 电工基础

基尔霍夫电流定律

这个电路看似简单,但却不能用欧姆定律解各支路电流。现在我们观察这个电路的特点。 (1)电路中有两个结点a和b。 (2)在结点之间连接多条电路,如abc,ab,adb,它们无分支,流过同一电流,称为支路...
阅读全文
基尔霍夫电压定律 电工基础

基尔霍夫电压定律

基尔霍夫电压定律(Kirchhoff's Voltage Law),简写为KVL,基尔霍夫电压定律描述电路中各电压的约束关系,可以表示为 对于任何集总参数电路的任一回路,在任一时刻,沿该回路全部支路电...
阅读全文
戴维南定理和诺顿定理 电工基础

戴维南定理和诺顿定理

 在电路的求解过程中, 如果不要求计算全部支路的电压、电流,而只计算某支路的 电压、电流或功率时,应用回路(网孔)电流法和结点电压法列写方程进行求解将十分繁琐,而采用一端口网络定理即戴维南/诺顿定理求...
阅读全文